Glass - Windshield for 2002 Land Rover Range Rover
Vehicle
2002 Land Rover Range Rover
Change Vehicle
- Aero Ground Effects & Body Kits
- Body Shell
- Brackets, Flanges & Hangers
- Bumper
- Bumper & Components - Front
- Bumper & Components - Rear
- Center Pillar & Rocker
- Cluster & Switches
- Console
- Control Cables
- Cowl
- Crossmembers & Components
- Dashboard
- Door
- Door & Components
- Doors
- Ducts
- Exterior Trim - Fender
- Exterior Trim - Front Bumper
- Exterior Trim - Front Door
- Exterior Trim - Pillars
- Exterior Trim - Quarter Panel
- Exterior Trim - Rear Door
- Fender & Components
- Fenders
- Floor
- Frame
- Frame & Components
- Front Door
- Front Seat Components
- Fuel Door
- Gaskets & Sealing Systems
- Gate & Hardware
- Glass - Front Door
- Glass - Rear Door
- Glass - Windshield
- Glass & Hardware
- Glass, Windows & Related Components
- Glove Box
- Grille
- Grille & Components
- Hardware, Fasteners & Fittings
- Hinge Pillar
- Hood
- Hood & Components
- Horns
- Inner Components
- Instrument Panel
- Interior
- Interior Trim - Front Door
- Interior Trim - Pillars
- Interior Trim - Quarter Panels
- Interior Trim - Rear Body
- Interior Trim - Rear Door
- Interior Trim - Roof
- Labels
- Liftgate
- Lock & Hardware
- Master Cylinder - Components On Dash Panel
- Mirrors
- Outside Mirrors
- Quarter Panel
- Quarter Panel & Components
- Radiator Support
- Rear Body
- Rear Door
- Rear Floor & Rails
- Rear Seat Components
- Rocker Panel
- Roof
- Roof & Components
- Seat Belt
- Seats
- Side Body
- Side Pillar
- Sound System
- Steering Wheel
- Structural Components & Rails
- Sunroof
- Switches, Solenoids & Actuators
- Tailgate
- Tailgate & Midgate
- Tracks & Components
- Truck Box
- Trunk Lid & Compartment
- Weatherstrips
- Wiper & Washer Components
- Wiper Components
- ABS Components
- Anti-Lock Brakes
- Brackets, Flanges & Hangers
- Brake Components
- Brake Hydraulics
- Control Modules
- Disc Pads & Brake Shoes
- Drums & Rotors
- Electrical Connectors
- Front Brakes
- Hardware, Fasteners & Fittings
- Hoses & Pipes
- Hydraulic System
- Parking Brake
- Rear Brakes
- Relays
- Sensors
- Service Kits
- Valves
- ABS Components
- Air Bag Components
- Air Bag System
- Alarm System
- Alternator
- Alternator/Generator & Related Components
- Antenna & Radio
- Anti-Theft Components
- Anti-Theft System
- Battery
- Battery & Related Components
- Brackets, Flanges & Hangers
- Bulbs - Chassis
- Combination Lamps
- Control Modules
- Controls
- Cruise Control System
- Doors
- Electrical Components
- Electrical Connectors
- Electrical Sockets
- Flasher Units, Fuses, & Circuit Breakers
- Fog Lamps
- Front Door
- Front Seat Belts
- Fuel Door
- Gaskets & Sealing Systems
- Gauges
- Glass, Windows & Related Components
- Hardware, Fasteners & Fittings
- Headlamp Components
- Headlamp Washers/Wipers
- Heated Seats
- High Mount Lamps
- Horn
- Ignition Lock
- Ignition System
- Information Labels
- Instruments & Gauges
- Lighting - Exterior
- Lighting - Interior
- Lumbar Control Seats
- Mirrors
- Navigation System Components
- Park & Side Marker Lamps
- Power Outlets
- Power Seats
- Powertrain Control
- Rear Door
- Rear Seat Belts
- Relays
- Ride Control Components
- Senders
- Sensors
- Side Marker Lamps
- Starter
- Starter & Related Components
- Sunroof
- Switches
- Switches, Solenoids & Actuators
- Tailgate
- Tire Pressure Monitor Components
- Washer Components
- Wipers
- A/C Clutch & Compressor
- A/C Condenser & Evaporator
- A/C Flow Restrictors
- Automatic Temperature Controls
- Blower Motor & Fan
- Brackets, Flanges & Hangers
- Condenser, Compressor & Lines
- Controls
- Evaporator & Heater Components
- Filters
- Hardware, Fasteners & Fittings
- Hoses & Pipes
- HVAC Case
- Information Labels
- Motors, Core, Case & Related Components
- Relays
- Sensors
- Switches & Sensors
- Switches, Solenoids & Actuators
- Temperature Controls & Related Components
- Brackets, Flanges & Hangers
- Bushings
- Carrier & Front Axles
- Control Modules
- Front Suspension
- Hardware, Fasteners & Fittings
- Rear Axle
- Rear Suspension
- Ride Control
- Sensors
- Shocks & Struts
- Suspension Components
- Suspension, Springs & Related Components
- Switches, Solenoids & Actuators
- Upper Control Arm
- Wheels
- Aero Ground Effects & Body Kits
- Body Shell
- Brackets, Flanges & Hangers
- Bumper
- Bumper & Components - Front
- Bumper & Components - Rear
- Center Pillar & Rocker
- Cluster & Switches
- Console
- Control Cables
- Cowl
- Crossmembers & Components
- Dashboard
- Door
- Door & Components
- Doors
- Ducts
- Exterior Trim - Fender
- Exterior Trim - Front Bumper
- Exterior Trim - Front Door
- Exterior Trim - Pillars
- Exterior Trim - Quarter Panel
- Exterior Trim - Rear Door
- Fender & Components
- Fenders
- Floor
- Frame
- Frame & Components
- Front Door
- Front Seat Components
- Fuel Door
- Gaskets & Sealing Systems
- Gate & Hardware
- Glass - Front Door
- Glass - Rear Door
- Glass - Windshield
- Glass & Hardware
- Glass, Windows & Related Components
- Glove Box
- Grille
- Grille & Components
- Hardware, Fasteners & Fittings
- Hinge Pillar
- Hood
- Hood & Components
- Horns
- Inner Components
- Instrument Panel
- Interior
- Interior Trim - Front Door
- Interior Trim - Pillars
- Interior Trim - Quarter Panels
- Interior Trim - Rear Body
- Interior Trim - Rear Door
- Interior Trim - Roof
- Labels
- Liftgate
- Lock & Hardware
- Master Cylinder - Components On Dash Panel
- Mirrors
- Outside Mirrors
- Quarter Panel
- Quarter Panel & Components
- Radiator Support
- Rear Body
- Rear Door
- Rear Floor & Rails
- Rear Seat Components
- Rocker Panel
- Roof
- Roof & Components
- Seat Belt
- Seats
- Side Body
- Side Pillar
- Sound System
- Steering Wheel
- Structural Components & Rails
- Sunroof
- Switches, Solenoids & Actuators
- Tailgate
- Tailgate & Midgate
- Tracks & Components
- Truck Box
- Trunk Lid & Compartment
- Weatherstrips
- Wiper & Washer Components
- Wiper Components
- ABS Components
- Anti-Lock Brakes
- Brackets, Flanges & Hangers
- Brake Components
- Brake Hydraulics
- Control Modules
- Disc Pads & Brake Shoes
- Drums & Rotors
- Electrical Connectors
- Front Brakes
- Hardware, Fasteners & Fittings
- Hoses & Pipes
- Hydraulic System
- Parking Brake
- Rear Brakes
- Relays
- Sensors
- Service Kits
- Valves
- ABS Components
- Air Bag Components
- Air Bag System
- Alarm System
- Alternator
- Alternator/Generator & Related Components
- Antenna & Radio
- Anti-Theft Components
- Anti-Theft System
- Battery
- Battery & Related Components
- Brackets, Flanges & Hangers
- Bulbs - Chassis
- Combination Lamps
- Control Modules
- Controls
- Cruise Control System
- Doors
- Electrical Components
- Electrical Connectors
- Electrical Sockets
- Flasher Units, Fuses, & Circuit Breakers
- Fog Lamps
- Front Door
- Front Seat Belts
- Fuel Door
- Gaskets & Sealing Systems
- Gauges
- Glass, Windows & Related Components
- Hardware, Fasteners & Fittings
- Headlamp Components
- Headlamp Washers/Wipers
- Heated Seats
- High Mount Lamps
- Horn
- Ignition Lock
- Ignition System
- Information Labels
- Instruments & Gauges
- Lighting - Exterior
- Lighting - Interior
- Lumbar Control Seats
- Mirrors
- Navigation System Components
- Park & Side Marker Lamps
- Power Outlets
- Power Seats
- Powertrain Control
- Rear Door
- Rear Seat Belts
- Relays
- Ride Control Components
- Senders
- Sensors
- Side Marker Lamps
- Starter
- Starter & Related Components
- Sunroof
- Switches
- Switches, Solenoids & Actuators
- Tailgate
- Tire Pressure Monitor Components
- Washer Components
- Wipers
- A/C Clutch & Compressor
- A/C Condenser & Evaporator
- A/C Flow Restrictors
- Automatic Temperature Controls
- Blower Motor & Fan
- Brackets, Flanges & Hangers
- Condenser, Compressor & Lines
- Controls
- Evaporator & Heater Components
- Filters
- Hardware, Fasteners & Fittings
- Hoses & Pipes
- HVAC Case
- Information Labels
- Motors, Core, Case & Related Components
- Relays
- Sensors
- Switches & Sensors
- Switches, Solenoids & Actuators
- Temperature Controls & Related Components
- Brackets, Flanges & Hangers
- Bushings
- Carrier & Front Axles
- Control Modules
- Front Suspension
- Hardware, Fasteners & Fittings
- Rear Axle
- Rear Suspension
- Ride Control
- Sensors
- Shocks & Struts
- Suspension Components
- Suspension, Springs & Related Components
- Switches, Solenoids & Actuators
- Upper Control Arm
- Wheels
Browse Categories
Select category
- Aero Ground Effects & Body Kits
- Body Shell
- Brackets, Flanges & Hangers
- Bumper
- Bumper & Components - Front
- Bumper & Components - Rear
- Center Pillar & Rocker
- Cluster & Switches
- Console
- Control Cables
- Cowl
- Crossmembers & Components
- Dashboard
- Door
- Door & Components
- Doors
- Ducts
- Exterior Trim - Fender
- Exterior Trim - Front Bumper
- Exterior Trim - Front Door
- Exterior Trim - Pillars
- Exterior Trim - Quarter Panel
- Exterior Trim - Rear Door
- Fender & Components
- Fenders
- Floor
- Frame
- Frame & Components
- Front Door
- Front Seat Components
- Fuel Door
- Gaskets & Sealing Systems
- Gate & Hardware
- Glass - Front Door
- Glass - Rear Door
- Glass - Windshield
- Glass & Hardware
- Glass, Windows & Related Components
- Glove Box
- Grille
- Grille & Components
- Hardware, Fasteners & Fittings
- Hinge Pillar
- Hood
- Hood & Components
- Horns
- Inner Components
- Instrument Panel
- Interior
- Interior Trim - Front Door
- Interior Trim - Pillars
- Interior Trim - Quarter Panels
- Interior Trim - Rear Body
- Interior Trim - Rear Door
- Interior Trim - Roof
- Labels
- Liftgate
- Lock & Hardware
- Master Cylinder - Components On Dash Panel
- Mirrors
- Outside Mirrors
- Quarter Panel
- Quarter Panel & Components
- Radiator Support
- Rear Body
- Rear Door
- Rear Floor & Rails
- Rear Seat Components
- Rocker Panel
- Roof
- Roof & Components
- Seat Belt
- Seats
- Side Body
- Side Pillar
- Sound System
- Steering Wheel
- Structural Components & Rails
- Sunroof
- Switches, Solenoids & Actuators
- Tailgate
- Tailgate & Midgate
- Tracks & Components
- Truck Box
- Trunk Lid & Compartment
- Weatherstrips
- Wiper & Washer Components
- Wiper Components
- ABS Components
- Anti-Lock Brakes
- Brackets, Flanges & Hangers
- Brake Components
- Brake Hydraulics
- Control Modules
- Disc Pads & Brake Shoes
- Drums & Rotors
- Electrical Connectors
- Front Brakes
- Hardware, Fasteners & Fittings
- Hoses & Pipes
- Hydraulic System
- Parking Brake
- Rear Brakes
- Relays
- Sensors
- Service Kits
- Valves
- ABS Components
- Air Bag Components
- Air Bag System
- Alarm System
- Alternator
- Alternator/Generator & Related Components
- Antenna & Radio
- Anti-Theft Components
- Anti-Theft System
- Battery
- Battery & Related Components
- Brackets, Flanges & Hangers
- Bulbs - Chassis
- Combination Lamps
- Control Modules
- Controls
- Cruise Control System
- Doors
- Electrical Components
- Electrical Connectors
- Electrical Sockets
- Flasher Units, Fuses, & Circuit Breakers
- Fog Lamps
- Front Door
- Front Seat Belts
- Fuel Door
- Gaskets & Sealing Systems
- Gauges
- Glass, Windows & Related Components
- Hardware, Fasteners & Fittings
- Headlamp Components
- Headlamp Washers/Wipers
- Heated Seats
- High Mount Lamps
- Horn
- Ignition Lock
- Ignition System
- Information Labels
- Instruments & Gauges
- Lighting - Exterior
- Lighting - Interior
- Lumbar Control Seats
- Mirrors
- Navigation System Components
- Park & Side Marker Lamps
- Power Outlets
- Power Seats
- Powertrain Control
- Rear Door
- Rear Seat Belts
- Relays
- Ride Control Components
- Senders
- Sensors
- Side Marker Lamps
- Starter
- Starter & Related Components
- Sunroof
- Switches
- Switches, Solenoids & Actuators
- Tailgate
- Tire Pressure Monitor Components
- Washer Components
- Wipers
- A/C Clutch & Compressor
- A/C Condenser & Evaporator
- A/C Flow Restrictors
- Automatic Temperature Controls
- Blower Motor & Fan
- Brackets, Flanges & Hangers
- Condenser, Compressor & Lines
- Controls
- Evaporator & Heater Components
- Filters
- Hardware, Fasteners & Fittings
- Hoses & Pipes
- HVAC Case
- Information Labels
- Motors, Core, Case & Related Components
- Relays
- Sensors
- Switches & Sensors
- Switches, Solenoids & Actuators
- Temperature Controls & Related Components
- Brackets, Flanges & Hangers
- Bushings
- Carrier & Front Axles
- Control Modules
- Front Suspension
- Hardware, Fasteners & Fittings
- Rear Axle
- Rear Suspension
- Ride Control
- Sensors
- Shocks & Struts
- Suspension Components
- Suspension, Springs & Related Components
- Switches, Solenoids & Actuators
- Upper Control Arm
- Wheels
- Aero Ground Effects & Body Kits
- Body Shell
- Brackets, Flanges & Hangers
- Bumper
- Bumper & Components - Front
- Bumper & Components - Rear
- Center Pillar & Rocker
- Cluster & Switches
- Console
- Control Cables
- Cowl
- Crossmembers & Components
- Dashboard
- Door
- Door & Components
- Doors
- Ducts
- Exterior Trim - Fender
- Exterior Trim - Front Bumper
- Exterior Trim - Front Door
- Exterior Trim - Pillars
- Exterior Trim - Quarter Panel
- Exterior Trim - Rear Door
- Fender & Components
- Fenders
- Floor
- Frame
- Frame & Components
- Front Door
- Front Seat Components
- Fuel Door
- Gaskets & Sealing Systems
- Gate & Hardware
- Glass - Front Door
- Glass - Rear Door
- Glass - Windshield
- Glass & Hardware
- Glass, Windows & Related Components
- Glove Box
- Grille
- Grille & Components
- Hardware, Fasteners & Fittings
- Hinge Pillar
- Hood
- Hood & Components
- Horns
- Inner Components
- Instrument Panel
- Interior
- Interior Trim - Front Door
- Interior Trim - Pillars
- Interior Trim - Quarter Panels
- Interior Trim - Rear Body
- Interior Trim - Rear Door
- Interior Trim - Roof
- Labels
- Liftgate
- Lock & Hardware
- Master Cylinder - Components On Dash Panel
- Mirrors
- Outside Mirrors
- Quarter Panel
- Quarter Panel & Components
- Radiator Support
- Rear Body
- Rear Door
- Rear Floor & Rails
- Rear Seat Components
- Rocker Panel
- Roof
- Roof & Components
- Seat Belt
- Seats
- Side Body
- Side Pillar
- Sound System
- Steering Wheel
- Structural Components & Rails
- Sunroof
- Switches, Solenoids & Actuators
- Tailgate
- Tailgate & Midgate
- Tracks & Components
- Truck Box
- Trunk Lid & Compartment
- Weatherstrips
- Wiper & Washer Components
- Wiper Components
- ABS Components
- Anti-Lock Brakes
- Brackets, Flanges & Hangers
- Brake Components
- Brake Hydraulics
- Control Modules
- Disc Pads & Brake Shoes
- Drums & Rotors
- Electrical Connectors
- Front Brakes
- Hardware, Fasteners & Fittings
- Hoses & Pipes
- Hydraulic System
- Parking Brake
- Rear Brakes
- Relays
- Sensors
- Service Kits
- Valves
- ABS Components
- Air Bag Components
- Air Bag System
- Alarm System
- Alternator
- Alternator/Generator & Related Components
- Antenna & Radio
- Anti-Theft Components
- Anti-Theft System
- Battery
- Battery & Related Components
- Brackets, Flanges & Hangers
- Bulbs - Chassis
- Combination Lamps
- Control Modules
- Controls
- Cruise Control System
- Doors
- Electrical Components
- Electrical Connectors
- Electrical Sockets
- Flasher Units, Fuses, & Circuit Breakers
- Fog Lamps
- Front Door
- Front Seat Belts
- Fuel Door
- Gaskets & Sealing Systems
- Gauges
- Glass, Windows & Related Components
- Hardware, Fasteners & Fittings
- Headlamp Components
- Headlamp Washers/Wipers
- Heated Seats
- High Mount Lamps
- Horn
- Ignition Lock
- Ignition System
- Information Labels
- Instruments & Gauges
- Lighting - Exterior
- Lighting - Interior
- Lumbar Control Seats
- Mirrors
- Navigation System Components
- Park & Side Marker Lamps
- Power Outlets
- Power Seats
- Powertrain Control
- Rear Door
- Rear Seat Belts
- Relays
- Ride Control Components
- Senders
- Sensors
- Side Marker Lamps
- Starter
- Starter & Related Components
- Sunroof
- Switches
- Switches, Solenoids & Actuators
- Tailgate
- Tire Pressure Monitor Components
- Washer Components
- Wipers
- A/C Clutch & Compressor
- A/C Condenser & Evaporator
- A/C Flow Restrictors
- Automatic Temperature Controls
- Blower Motor & Fan
- Brackets, Flanges & Hangers
- Condenser, Compressor & Lines
- Controls
- Evaporator & Heater Components
- Filters
- Hardware, Fasteners & Fittings
- Hoses & Pipes
- HVAC Case
- Information Labels
- Motors, Core, Case & Related Components
- Relays
- Sensors
- Switches & Sensors
- Switches, Solenoids & Actuators
- Temperature Controls & Related Components
- Brackets, Flanges & Hangers
- Bushings
- Carrier & Front Axles
- Control Modules
- Front Suspension
- Hardware, Fasteners & Fittings
- Rear Axle
- Rear Suspension
- Ride Control
- Sensors
- Shocks & Struts
- Suspension Components
- Suspension, Springs & Related Components
- Switches, Solenoids & Actuators
- Upper Control Arm
- Wheels
No.
Part # / Description / Price
Price
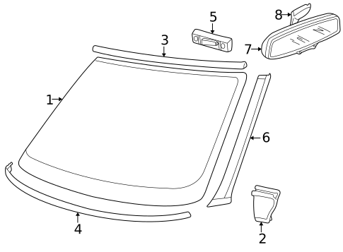
2
MSRP $4.19
$3.29
4
5
1997-2002 Land Rover Range Rover - Reveal Molding Retainer
Land-Rover
Land-Rover Description: From va352947.
MSRP $4.67
$4.28
MSRP $4.67
$4.28
6
Molding
Land-Rover
Land-Rover Positions: Right
Description: Windshield pillar, from va362557. Windshield pillar, to va362556.
6
Molding
Land-Rover
Land-Rover Positions: Left
Description: Windshield pillar, from va362557. Windshield pillar, to va362556.
Related Parts
Part # / Description / Price
Price
MSRP $10.91
$10.01
